欢迎来到威瑞(无锡)精工科技有限公司的官方网站!

产品中心

PRODUCT CENTER

产品中心

当前位置: 首页 > 产品中心 > 液压站
YZ液压站系列


液压站组成及工作原理:

      液压站又称液压泵站,独立的液压装置。它按主机要求供油,并控制油流的方向、压力和流量,用于主机与液压装置可分离的各种液压机械。用户购后只要将液压站与主机上的执行机构(油缸或油马达)用油管相连,液压机械即可实现各种规定的动作,工作循环。液压站是由泵装置、集成块或阀组合、油箱、电气盒组合而成。
       各部件功用如下: 
      泵装置—上装有电机和油泵,它是液压站的动力源,将机械能转化为液压油的压力能。集成块—是由液态阀及通道体组装而成,它对液压油实行方向、压力流量调节。阀组合—是板式阀装在立板上,板后管连接,与集成块功用同。油箱—是板焊的半封闭容量,上述装有滤油网、空气滤清器等,它

用来储油,油的冷却及过滤。电气盒—分两种形式。一种设置外接引线的端子板;一种是配套了全套控制电器。
       液压站的工作原理如下:
      电机带动油泵旋转,泵从油箱中吸油后压油,将机械能转化为液压油的压力能,液压油通过集成块(或阀组合)被液压阀实现了方向、压力流量调节后经外接管路舆到液压机械的油缸或油马达中。从而控制了液动机方向的变换,力量的大小及速度的快慢,推动各种液压机械做功。

       液压站的结构形式及主要技术参数:
       液压站的结构形式:
      主要以泵装置的结构形式、安装位置及冷却方式来区分,按泵装置的结构形式安装位置可分三种:
      1.上置立式:泵装置立式安装在油箱盖板上,主要用于定量泵系统。
      2.上置卧式:泵装置卧式安装在油箱盖板上,主要用于变量泵系统,以便于流量调节。3.旁置式:泵装置卧式安装在油箱产旁单独的基础上,旁置式可装备备用泵,主要用于油箱容量大于250升,电机功率7.5千瓦以上的系统。
       按液压站的冷却方式可分为两种:
      1.自然冷却:靠油箱本身与空气交换冷却,一般用于油箱容量小于250升的系统。
      2.强迫冷却:采取冷却器进行强制冷却,一般用于油箱容量大于250升的系统。
      液压站以油箱的有效贮油量及电动机功率为主要技术参数。

       油箱容量共有18种规格:

25
40
63
100
160
250
400
630
800
1000
1250
1600
2000
2500
3200
4000
5000
6300

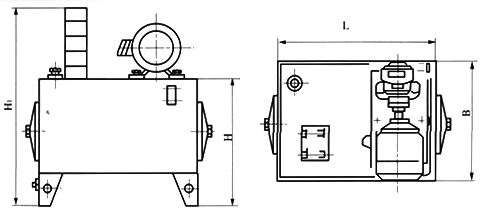
安装尺寸图:


安装尺寸:

油箱容量(升)
L
B
H
100
700
500
520
160
800
600
600
250
900
700
700
400
1000
800
850

    
联系我们

厂址:无锡市梅园徐巷688号

电话:0510-85516389

传真:0510-85509687

邮编:214064

邮箱:sales@cn-htpc.com

网址:www.cn-htpc.com

客户反馈
Copyright © 2017 威瑞(无锡)精工科技 有限公司 / 无锡市河埒气动元件厂 版权所有 未经许可不得使用、转载、摘编。